浙江省永嘉縣甌北鎮和一工業區陽光大道1668號
0577-67377110 67377119 (銷售熱線)
0577-67315555 67317555 (銷售二部)
szzkfm@163.com
http://www.cd-sj.cn
氣動三偏心蝶閥屬于高性能蝶閥,它通過各種驅動裝置帶動閥軸的旋轉,閥軸又帶動蝶板在閥體通道內做0-90°的范圍內旋轉,來達到閥門開啟和關閉的目的,實現對管道內流通介質的控制。三偏心金屬硬密封蝶閥因為超高的性能,可以廣泛應用于發生爐、蒸汽、冷熱空氣、化工冶煉工程、發電、環保等工程管道中,適用介質包括各種腐蝕性、非腐蝕性流體介質。
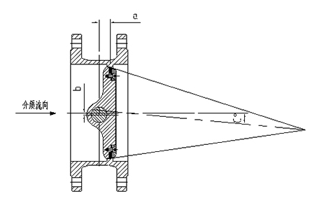
三偏心氣動蝶閥的結構圖

三偏心氣動蝶閥的結構特點:
具有以下優點:
1 、體積小、重量輕、具有優良的切斷性能。
2 、蝶板密封面設計成相對蝶板軸心為一斜截圓錐面,使得蝶板密封面與閥座密封面有一定的接觸角,這個接觸角均勻地圍繞其圓周面相等于一個細長的楔形,并且蝶板圓周縱向處的密封線呈一準橢圓形曲線,兩者同時起著密封的補償作用。
3 、蝶板密封面在關閉狀態下,受力均勻,承壓能力高;蝶板在開啟過程中,密封面各點同時完成脫離閥座密封面的動作,無擠卡現象,基本無摩擦,開啟力矩 較小。因此,成本低,密封性能好,壽命長。
4 、各種密封結構供選擇,保證使用壽命及可靠性。蝶閥密封圈有整體式軟密封(PTFE , C-TFE , G-TFE )、硬化金屬片式、整體式+硬質合金,適用于各種工況。
5 、能實現雙向密封功能,既可以調節,又具有切斷功能。
6 、執行機構低摩擦力、工作效率高、推力大、安全性好。
7 、執行機構靈巧型、組合型(手動機構)的設計,可保證各方向的隨意安裝以及靈活控制。
8 、簡捷醒目、可靠一體化的行程指示及限位開關和電磁閥的組合安裝、無外接管路、減少泄漏點。
9、多種執行機構形式供選擇、滿足不同用戶要求。
10 、裝配維修方便,具有 優良的性能價格比。